In the mechanical manufacturing industry, engineers generally classify hole machining into deep-hole and shallow-hole machining based on the length-to-diameter ratio.
Deep holes typically refer to internal holes in parts where the length-to-diameter ratio exceeds 5.
Their geometric characteristics make deep hole machining one of the more challenging processes in mechanical manufacturing.
Deep hole machining exhibits the following process characteristics:
Machicians perform it under enclosed conditions, which prevent direct observation of the tool’s cutting process and complicate chip removal.
The tool system features a high length-to-diameter ratio and low rigidity, making it prone to vibration, waviness, and taper during cutting.
These factors adversely affect the straightness and surface roughness of deep holes, while tool durability is relatively low.
Deep hole drilling employs multiple cutting motions: workpiece rotation with tool feed; stationary workpiece with rotating and feeding tool; relative rotation of workpiece and tool with tool feed; workpiece rotation and feed with stationary tool.
The first method is most commonly used.
In recent years, increasing complexity of mechanical components and growing use of difficult-to-machine materials have driven rising demand for deep hole drilling.
Deep Hole Machining Methods
Because shallow holes have a small length-to-diameter ratio, their machining is relatively straightforward.
Machicians can produce these holes using techniques such as twist drilling, electrical discharge machining (EDM), and wire cutting.
However, for deep or ultra-deep holes, engineers have significantly fewer machining options available.
Engineers categorize deep-hole drilling tools into two main types based on chip evacuation: internal and external.
In external evacuation, cutting fluid enters through the center of the drill rod, sprays into the cutting zone through small holes in the drill head, and carries chips out via V-shaped grooves on the rod’s exterior.
External chip evacuation tools include gun drills, deep-hole flat drills, and deep-hole twist drills.
Internal chip evacuation involves coolant entering through the gap between the drill rod and hole wall, using coolant pressure to expel chips through the drill rod’s internal bore.
Engineers categorize internal evacuation tools by machining system into BTA deep-hole drilling systems, jet-suction drilling systems, and DF deep-hole drilling systems.
Furthermore, modern deep-hole machining systems prioritize balanced optimization between chip evacuation and cooling.
Recent years have seen the development of new specialized machining techniques, including electrical discharge machining (EDM), laser machining, electrolytic machining, and ultrasonic machining.
Large and Medium Diameter Deep Hole Machining
1. Gun Drilling for Deep Holes
The gun drilling system is primarily used for machining holes ranging from φ4 to φ30 mm.
It is one of the most common deep hole drilling methods, suitable for small to medium batch production. The structure of the gun drilling system is shown in Figure 1.

Domestic and international scholars have conducted extensive research on deep-hole gun drills.
Qian Qing et al. optimized a gun drill for deep-hole machining of shaft gear components in a specific engine model, enhancing hole machining quality and meeting requirements for hole straightness and precision.
Li Liang et al. investigated the formation process and influencing factors of spiral chips during gun drilling.
They analyzed chip deformation patterns under different process parameters by varying cutting speed, feed rate, and oil pressure.
Kondratenko L. et al. investigated deep-hole drilling processes. They established mathematical relationships between the longitudinal and torsional vibrations of cutting drills.
They also revealed how thermal flow pulsations influence friction coefficients and cutting forces.
Neo D. et al. proposed using polycrystalline cubic boron nitride (PCBN) gun drills to address tool durability and hole diameter deviation issues.
Zhang X. et al. designed and developed a customized gun drill regrinding system.
They integrated it with an on-site gun drill measurement system, enabling the production of high-quality gun drills with precisely controlled tool geometry.
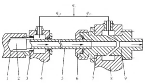
2. BTA Drills
BTA drills refer collectively to three standardized deep-hole drilling tools introduced by the European “Boring and Tapping Association” (BTA solid drills, BTA reamers, and BTA boring bars).
Engineers primarily use them for drilling deep holes with diameters exceeding 12 mm, making them preferred tools for high-volume, high-load continuous deep-hole machining.
The structural configuration of the BTA drill system is shown in Figure 2.

Zhang Huang established a dynamic model of the tool-workpiece system for the novel triple-guide bar and validated the advantages of this tool design (see Figure 3).
Wu Zhubing et al. developed a dynamic model of the workpiece. They derived its free vibration equation using beam theory.
They then employed MATLAB fitting analysis to evaluate workpiece vibration displacement under varying cutting positions, spindle speeds, and feed rates.
Long Juncheng et al. investigated the role of vibration-damping guide blocks in BTA deep hole drilling and their positional impact on machining accuracy;
Miao Hongbin et al. studied control methods for eccentric motion in BTA drill rod systems, analyzing motion patterns and force conditions while proposing piezoelectric active control approaches;
Li X. et al. established a novel drilling force model based on oblique cutting theory to predict thrust and torque for helical BTA deep-hole drills.

3. Jet-Suction Drilling
Jet-suction drilling is a highly efficient deep-hole machining method, with its structure shown in Figure 4.
The machined holes achieve precision levels ranging from IT9 to IT11, with surface roughness values between Ra 3.2 μm and 0.8 μm.
Typically, the diameter of the drilled holes should not be less than 18 mm.
Chen Jianbing et al. designed a multi-deep-hole machining process for stainless steel wheel bodies and analyzed the influencing factors of deep-hole machining based on actual production processes.

4. DF Deep Hole Drill
The DF deep-hole drill combines the advantages of BTA drilling and jet-assisted drilling.
It expands the drilling diameter range to as small as φ6 mm while improving machining precision and efficiency.
The structural configuration of the DF deep hole drill system is shown in Figure 5.

Dong Zhen modified the hydraulic circuit based on the DF system, implementing a pulse control system for hydraulic pressure and flow by adding a pulse controller. See Figure 6 for the solution.

Pang Junzhong et al. addressed the challenges of difficult chip removal and low efficiency in deep hole drilling by designing a DF drilling system featuring rotating tools.
Pan Jie optimized the structure and enhanced the functionality of the DF system, developing a rotating DF drilling system with integrated online monitoring capabilities.
Gao Weijia et al. developed a deep-hole drill capable of maintaining stable drilling and achieving efficient chip evacuation during high-speed motion.
They integrated deep-hole machining technology, high-speed cutting techniques, and fluid mechanics knowledge.
This work provides new insights for the future design and research of novel deep-hole drills.
Micro-Deep Hole Machining
1. Fundamentals and Principles of Electrical Discharge Machining (EDM)
Electrical discharge machining (EDM) is a specialized method that removes conductive material through electrolytic erosion.
This erosion is generated by pulsed discharges between two electrodes immersed in a working fluid.
Also known as spark machining or electro-erosion machining, its operating principle is illustrated in Figure 7.

Ren Lijuan designed a conical stepped ultrasonic horn to address issues in electrical discharge machining.
Utilizing modal analysis and harmonic response analysis, she investigated modal vibration modes that meet machining requirements and determined a reasonable amplitude amplification factor.
The established three-dimensional diagram of the horn is shown in Figure 8.

Jiang Yi et al. prepared porous electrodes that meet EDM requirements.
They also established an experimental system to investigate the EDM performance of these porous electrodes under deep-hole conditions.
Zhou Ming et al. developed a dual-variable adaptive control system with a two-step feedforward control strategy for high-melting-point, difficult-to-machine materials.
Their work demonstrated the strong machining capability of dual-variable adaptive control in EDM.
Xu Pei et al. proposed measures to address eccentricity issues in EDM micro-hole machining by leveraging the characteristics of high-speed EDM micro-hole processing.
2. Advanced Electrochemical Machining Techniques
Yang F. et al. employed electrochemical machining (ECM) to establish a mathematical model of the electric field within the electrolytic machining gap.
They simulated the electric field distribution in tapered, irregular deep-threaded holes.
Cao Zhongli et al. proposed a hole machining method that uses continuous flushing combined with intermittent oxygen supply, known as internal jet aerosol medium ablation.
This approach produces machined surfaces with excellent quality and high machining precision.
Wang Y. et al. proposed a hybrid process called Synchronous Laser and Irregular Tube Electrochemical Machining (Laser Rod).
This process combines the advantages of electrochemical machining (ECM) and laser beam machining (LBM).
They demonstrated that increasing laser power, pulse voltage, and feed rate enhances machining efficiency and precision.
3. Ultrasonic-Assisted Machining for Enhanced Performance
Ultrasonic machining involves converting power-frequency alternating current into ultrasonic electrical oscillations of a specific power output via an ultrasonic generator.
A transducer then converts these ultrasonic electrical oscillations into ultrasonic mechanical vibrations.
Amplification of the amplitude is achieved through an amplitude-amplifying rod, driving the tool electrode to perform ultrasonic vibration. The machining principle is illustrated in Figure 9.

Natsu W. experimentally investigated the effects of applying ultrasonic vibrations to machining fluids on processing speed and electrode wear, identifying conditions that enhance machining characteristics.
Kong Wenjun et al. introduced ultrasonic waves into electrical discharge machining, simulated bubble motion processes, and improved machining efficiency.
Liu Y. et al. established a method combining side-flushing with ultrasonic vibration assistance, ensuring machining quality while enhancing process stability and efficiency.
Inspection and Control of Deep Hole Machining
Inspection Technology
Currently, methods such as caliper measurement or manual dial gauge inspection are commonly used during deep hole machining.
Techniques for detecting straightness errors in deep holes include plug gauge inspection, dual-end wall thickness measurement with vernier calipers, and lever-based methods.
Both online monitoring technologies and post-machining inspection techniques still have significant shortcomings, prompting extensive research by specialists.
Chen Zhenya tested multi-stage jet structures, offering novel approaches to reduce straightness errors in deep hole machining;
Liu Zhou et al. developed an integrated online automatic inspection and machining device, significantly reducing labor intensity while enhancing centering accuracy and efficiency;
Li Ruicheng proposed a new method for continuous real-time online inspection, achieving effective preemptive detection and control of hole axis deviation;
Shen Xingquan et al. designed a post-processing online detection and correction device for deep hole machining;
Si Y. et al. investigated spindle vibration signals generated during deep hole drilling to identify features reflecting error variations;
Thanikasalam A. et al. explored online condition monitoring techniques for deep hole drilling, utilizing accelerometers, thermal deformation patterns (TDP), and tool vibration to predict tool status;
Kozochkin M.P. et al. investigated the feasibility of using vibration acoustic signals to monitor the efficiency of discharge pulses during electrical discharge machining (EDM).
They presented data on changes in material dynamic characteristics across different frequency ranges and analyzed the influence of EDM background noise on vibration acoustic signal parameters.
Control Technology
Numerous scholars have conducted research on issues such as axis deviation and cutting vibration in deep hole machining.
(1) Deviation Suppression Methods
Zhao Rong designed an internal reaming tool tailored to tooling requirements for through-hole and blind-hole machining, elucidating its self-guidance and vibration-damping capabilities (see Figure 10).

Li Shaomin analyzed existing approaches and established a fundamental model for solving deep-hole axis straightness errors, proposing four evaluation schemes based on this model.
Lu Xuge et al., integrating analysis of BTA deep-hole drilling mechanisms, proposed improvements to conventional deep-hole drilling methods for non-rotating workpieces, effectively controlling hole axis deviation.
Yu Daguo investigated oil film positioning and guiding techniques for deep-hole drills, suggesting technical measures to eliminate or reduce drill deviation using cutting fluids.
(2) Vibration Suppression Methods
The advancement of manufacturing demands high-speed, efficient cutting tools with superior performance, enhanced machining capabilities, and improved precision retention.
Enhancing toolholder cutting stability and reducing toolholder vibration have become critical research topics.
Tool vibration reduction technologies primarily fall into three categories: active vibration reduction, passive vibration reduction, and semi-active vibration reduction.
Meng Fanchong designed a dual-layer boring bar structure with nonlinear vibration-damping slots, elucidating the vibration-reduction mechanism of nonlinear slots utilizing damping technology;
Wei Jie et al. designed a shear-valve type magnetorheological damper based on the working principle of magnetorheological fluid to suppress vibrations during deep hole cutting;
Zhang Huang et al. developed an extruded magnetorheological fluid damper for deep hole vibration suppression based on the damping mechanism of magnetorheological fluid;
Kong Lingfei et al. employed a semi-analytical dynamic method combined with the Newton-Raphson iteration.
They derived a mathematical description of the trajectory forming deep-hole roundness morphology.
They also analyzed the correlation between deep-hole tool dynamic characteristics and the machined hole’s roundness morphology.
Numerical examples validated the feasibility of the proposed method. Qiu Quanshui et al. designed an electro-rheological vibration damper based on flow and shear hybrid modes.
This damper effectively suppresses cutting chatter in deep-hole machines by controlling the electric field strength.
Zhang Juming et al. employed PLC-controlled clamping force adjustment to enhance the efficiency and stability of high-speed deep-hole machining;
Zhang Huang et al. [] designed a composite intelligent vibration damper for deep-hole machining, effectively suppressing drill rod vibration and improving machining accuracy.
This holds practical significance for achieving intelligent digital control in high-end deep-hole machine tools.
Process Research
Regarding precision issues in deep hole machining, numerous scholars have conducted research on the machining processes for deep holes.
Wang Jiming et al. investigated machining processes and equipment to address problems such as shaft axis deviation and high hole roughness during the machining of high-speed train axles.
The machined components are shown in Figure 11.

Tian Chunlei and colleagues proposed three measures: designing specialized fixtures, improving alignment methods, and enhancing deep-hole boring tools, successfully resolving instability issues in deep-hole interrupted cutting.
Wang Ning applied the PDCA method to analyze and refine machining processes, ensuring workpieces met design specifications while boosting production efficiency.
Kong Bo et al. selected extra-long anti-vibration boring bars with quick-change tool heads, offering a solution for deep-hole machining through optimized process routes.
Li Jingwei et al. designed a rotary fixture enabling high-precision machining of two eccentric deep holes in a single setup, enhancing processing efficiency and reducing production costs.
Deep Hole Machining Applications
With the continuous advancement of industrialization, deep hole machining applications have expanded into aerospace, petroleum, and military industries.
Taking the machining of inclined oil holes in engine crankshafts as an example, Han Ziqi elaborated on the role of semi-dry machining (MOL).
He discussed the characteristics of carbide-coated tools and the application of carbide drills combined with semi-dry machining technology in small-diameter deep-hole machining.
Liu Jingjing et al. conducted gun drilling tests on Ti6Al4V titanium alloy.
They aimed to address issues such as poor surface roughness, axis deviation, and difficult chip control during deep-hole machining of large aircraft shaft components.
Liu Yang et al. investigated machining methods for end-face deep holes and eccentric inclined deep holes.
They aimed to achieve eccentric inclined hole and deep-hole machining using vertical machining centers and coordinate boring machines.
Wang M. et al. studied ultrasonic vibration-assisted micro-hole drilling in stainless steel, comparing and discussing drilling results with cylindrical and disc-shaped cathodes, as well as with and without tool vibration.
Conclusion
With the continuous development and refinement of gun drills, BTA drills, jet-suction drills, and DF drills for deep-hole machining, along with ongoing improvements in tool materials, structures, guide block arrangements, and chip removal systems, deep-hole machining is steadily advancing toward higher efficiency, precision, and reliability.
Modern deep hole machining centers are rapidly evolving toward high precision, high efficiency, intelligence, and modularity.
However, no truly innovative new processing equipment has emerged in the deep hole drilling field in recent years.
To meet the demands of multi-variety machining, modular reconfigurable deep hole drilling machines represent a key area for future research.
Conventional deep-hole drilling struggles with difficult-to-machine materials, complex special surfaces, and micro-deep holes.
Consequently, specialized processing technologies—such as laser, waterjet, electrical discharge machining (EDM), and electrolytic deep-hole drilling—have opened new frontiers for deep-hole machining.
With growing environmental awareness, the eco-friendly properties of cutting fluids are increasingly prioritized.
The development and application of green, environmentally friendly cutting fluids will become a major trend not only in deep-hole machining but across the entire mechanical engineering industry.
FAQ:
What is the difference between deep-hole and shallow-hole machining?
Deep-hole machining refers to internal holes where the length-to-diameter ratio exceeds 5, making them more challenging due to vibration, tool deflection, and chip removal difficulties. Shallow-hole machining has a smaller length-to-diameter ratio, allowing for simpler processes like twist drilling, EDM, or wire cutting.
What are the main challenges in deep-hole machining?
Deep-hole machining faces challenges such as limited visibility of the cutting zone, complex chip evacuation, low tool rigidity, high vibration risk, tapering, waviness, reduced tool life, and difficulty maintaining surface roughness and straightness.
Which cutting tools are commonly used for deep-hole machining?
Deep-hole machining tools are categorized based on chip evacuation:
External evacuation tools:Gun drills, deep-hole flat drills, and deep-hole twist drills.
Internal evacuation tools: BTA drills, jet-suction drills, and DF deep-hole drills.
These tools optimize chip removal and cooling to ensure precision and efficiency.
How does gun drilling improve deep-hole machining accuracy?
Gun drilling is widely used for small to medium-diameter holes (φ4–φ30 mm). It provides stable chip evacuation, precise tool geometry, and allows for optimization of cutting parameters such as feed rate, oil pressure, and cutting speed, improving straightness and surface finish.
What is BTA deep-hole drilling and when is it used?
BTA drills (Boring and Tapping Association) are used for large-diameter holes (>12 mm) in high-volume, continuous machining. They feature specialized guide bars and vibration-damping mechanisms to maintain accuracy, minimize axis deviation, and improve surface quality.
How do modern deep-hole machining systems enhance precision and efficiency?
Systems like jet-suction and DF drills combine high-pressure coolant, optimized chip evacuation, and tool rotation to improve machining efficiency. Ultrasonic, EDM, laser, and electrolytic methods are used for micro-deep holes or difficult-to-machine materials.
What role does vibration suppression play in deep-hole machining?
Vibration suppression is crucial for maintaining tool stability and machining accuracy. Technologies include active, passive, and semi-active vibration dampers, magnetorheological dampers, and composite intelligent vibration systems that reduce chatter and improve surface quality.
How is online monitoring and inspection applied in deep-hole machining?
Advanced deep-hole machining employs online monitoring using spindle vibration signals, accelerometers, and thermal deformation patterns. Inspection tools include calipers, plug gauges, dual-end thickness measurements, and automatic online detection devices for real-time control of axis deviation and tool wear.
Which industries benefit most from deep-hole machining?
Deep-hole machining is critical in aerospace, automotive, petroleum, and military industries. Applications include engine crankshafts, aircraft shaft components, titanium alloy components, and high-precision molds, where precision, surface quality, and chip control are essential.
What trends are shaping the future of deep-hole machining?
Future deep-hole machining trends include:
Modular, reconfigurable machine tools for multi-variety production.
Specialized processes like laser, waterjet, EDM, and electrolytic machining for micro-holes or complex surfaces.
Development of eco-friendly cutting fluids.
Integration of high-precision, high-efficiency, and intelligent machining technologies.



